我对 Vultr 韩国机房的第一反应是:首尔离中国这么近,物理距离摆在那,网络表现应该差不了。毕竟日本东京节点很多人用着都还行,韩国首尔在地理位置上甚至更近,应该也不差。
抱着这个想法,我开了一台 Vultr首尔机房的机器,跑了一轮比较完整的测试。
今天就把 Vultr韩国首尔机房的实测数据整理出来,延迟、丢包、路由、IO 这些该跑的都跑了,数据直接摆上来,你们自己判断适不适合自己的使用场景。
Vultr韩国测试机器配置
这次测试我选的是 Vultr 韩国首尔机房比较基础的一个套餐,具体配置如下:
| CPU / 内存 | 硬盘 | 流量 | 价格 |
|---|---|---|---|
| 1 vCPU / 1 GB | 25 GB | 1.00 TB / 月 | $5.00 |
这个配置不算高,但用来跑个人博客、轻量级网站、小型项目完全够用了。
我平时做测评一般也倾向于用基础款,一方面是大多数人买 VPS 就是这个价位段,另一方面基础配置下的表现更能反映真实水平——高配机器堆硬件谁都能跑出好看的数字,没太大参考意义。
Vultr 除了常规的云服务器之外,现在也有 GPU 服务器可以选。如果你有跑 AI 模型、深度学习之类的需求,可以点击这里领取 $300 体验金,绑定信用卡就能激活,有效期一个月。
好,配置介绍完了,下面直接上测试数据。
Vultr 首尔性能测试
CPU 和内存信息
先看一下这台 Vultr 韩国首尔机房的硬件基本面:
root@001:~# lscpu | grep "Model name"
Model name: Intel Xeon Processor (Cascadelake)
BIOS Model name: pc-q35-8.2 CPU @ 2.0GHz
root@001:~# free -h
total used free shared buff/cache available
Mem: 955Mi 297Mi 467Mi 1.2Mi 335Mi 658Mi
Swap: 2.3Gi 0B 2.3Gi
CPU 是 Intel Xeon Cascadelake 架构,主频 2.0GHz,这个型号在 Vultr 各机房里算比较常见的。内存实际可用 955Mi,配了 2.3G 的 Swap,对于跑个轻量应用来说够用。
CPU 跑分
用 sysbench 跑了 60 秒的 CPU 基准测试,原始数据贴一部分:
root@001:~# sysbench cpu --time=60 run
CPU speed:
events per second: 1115.12
General statistics:
total time: 60.0009s
total number of events: 66910
Latency (ms):
min: 0.83
avg: 0.90
max: 9.58
95th percentile: 1.06
每秒 1115 次事件处理,60 秒内完成了 66910 次运算,平均延迟 0.90ms。这个成绩对于单核 2.0GHz 的机器来说中规中矩,不算亮眼,但也没拉胯。
日常跑个 Nginx + PHP 环境处理博客请求完全没问题。
内存性能
root@001:~# sysbench memory run
Total operations: 53207365 (5319834.67 per second)
51960.32 MiB transferred (5195.15 MiB/sec)
内存读写速度 5195 MiB/s,这个数值很正常,KVM 虚拟化下的典型表现。
磁盘 I/O 测试
磁盘性能我跑了两轮,一轮 4K 随机读写,一轮 1M 顺序读写,这两个场景基本能覆盖日常使用了。
4K 随机读写(60 秒持续测试):
root@001:~# fio --name=randrw --rw=randrw --bs=4k --size=512M --numjobs=1 --runtime=60 --time_based --group_reporting
READ: bw=22.6MiB/s (23.7MB/s), io=1359MiB (1425MB), run=60001-60001msec
WRITE: bw=22.6MiB/s (23.7MB/s), io=1357MiB (1423MB), run=60001-60001msec
1M 顺序读写:
root@001:~# fio --name=seqrw --rw=readwrite --bs=1M --size=512M --direct=1 --numjobs=1 --iodepth=1 --group_reporting
READ: bw=560MiB/s (587MB/s), run=432-432msec
WRITE: bw=625MiB/s (655MB/s), run=432-432msec
两轮测试结果汇总成表格,方便你们直接对比:
| 测试项目 | 读取 | 写入 |
|---|---|---|
| 4K 随机 IOPS | 5,797 | 5,788 |
| 4K 随机带宽 | 22.6 MiB/s | 22.6 MiB/s |
| 1M 顺序带宽 | 560 MiB/s | 625 MiB/s |
4K 随机读写接近 5800 IOPS,这个数据在同价位 VPS 里属于不错的水平。
跑数据库、WordPress 这类频繁小文件读写的场景,体验上不会有明显的卡顿感。顺序读写更是直接拉到了 500MiB/s 以上,说明底层存储用的是 SSD,没有在这上面缩水。
性能数据汇总
把 Vultr 首尔机房这台机器的核心性能指标整理到一起:
| 测试项 | 结果 |
|---|---|
| CPU 型号 | Intel Xeon Cascadelake @ 2.0GHz |
| CPU 跑分(events/s) | 1,115 |
| 内存带宽 | 5,195 MiB/s |
| 4K 随机读 IOPS | 5,797 |
| 4K 随机写 IOPS | 5,788 |
| 顺序读 | 560 MiB/s |
| 顺序写 | 625 MiB/s |
单从硬件性能来说,Vultr 韩国首尔这台机器给的东西是实在的,没有明显的超售痕迹,磁盘 I/O 表现甚至比我之前测过的一些 Vultr 其他机房还稍好一点。
当然,买 VPS 性能只是一方面,大家更关心的大概率是网络表现——毕竟选 Vultr 首尔就是冲着离中国近来的,网络到底怎么样,接着往下看。
网络测试
性能过关了,接下来看重头戏——网络。说实话,大多数人选 Vultr 韩国首尔机房,看中的就是地理位置近,期望延迟低、速度快。我也是带着这个期待去测的,但实际数据出来之后,确实有点失望。
全球节点测速
先看一组全球多节点的带宽和延迟数据:
| 测试节点 | 上传速度 | 下载速度 | 延迟 |
|---|---|---|---|
| Speedtest.net | 5696.01 Mbps | 4621.74 Mbps | 1.58 ms |
| Tokyo, JP | 6127.65 Mbps | 1870.51 Mbps | 32.54 ms |
| Hong Kong, CN | 1530.98 Mbps | 3361.19 Mbps | 57.88 ms |
| Singapore, SG | 2407.39 Mbps | 710.06 Mbps | 68.75 ms |
| Los Angeles, US | 2027.70 Mbps | 1103.75 Mbps | 135.88 ms |
| Montreal, CA | 410.74 Mbps | 1221.91 Mbps | 205.88 ms |
| Amsterdam, NL | 296.36 Mbps | 3080.63 Mbps | 265.92 ms |
| Paris, FR | 936.39 Mbps | 1077.92 Mbps | 286.64 ms |
| Ningbo, CN | 6.30 Mbps | 402.99 Mbps | 278.27 ms |
| Suzhou, CN | 406.25 Mbps | 5.42 Mbps | 297.84 ms |
本地测速很猛,接近 5Gbps 的上行带宽,东京、台北、香港这些亚洲节点延迟表现正常。
但你注意看最后两行——苏州和宁波,也就是中国大陆节点,延迟直接飙到了 278ms 和 297ms,下载速度更是惨不忍睹,苏州方向只有 5.42 Mbps。
韩国首尔到中国大陆的直线距离其实很短,出现这种,基本可以确定线路有问题。
国内三网延迟
下午时段我又单独跑了一轮国内多节点的 Ping 测试,下面是截图中的关键数据:

三网平均延迟全部超过 180ms,联通最差,平均 245ms,移动相对好一点但波动大,最低 70ms 最高 409ms,差距非常悬殊。电信的表现也一般,成都方向直接 316ms。
这个延迟水平和我去年测 Vultr 首尔的时候相比退步明显,大概率是 IP 段不行。
如果你也打算用 Vultr 韩国机房,有个小技巧:可以同时开几台机器,测完之后留下延迟最低的那台,其他的删掉就行,Vultr 是按小时计费的,这样操作不会多花多少钱。
丢包率测试
延迟高也就算了,丢包才是更致命的问题。

测试结果显示,Vultr 首尔机房到大陆的综合丢包率达到了 17.32%。
正常来说,丢包率控制在 1% 以内体验才算流畅,超过 5% 就会有明显的卡顿感,超过 10% 基本上网页加载就会出现白屏、超时的情况。17% 的丢包率,甚至能影响到正常的运维操作。
路由追踪
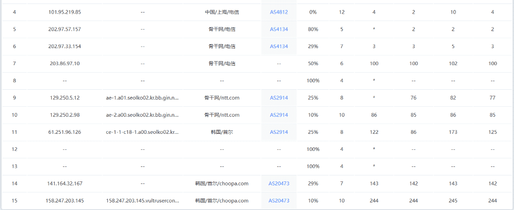
为了搞清楚延迟高的原因,我从上海方向做了一次路由追踪。

结果很明确:流量从上海出发后,走的是 NTT 的国际线路,本身问题不大。但是进入韩国境内之后,还出现了好几跳异常,延迟直接从几十毫秒跳到了 200ms 以上。
这就解释了为什么物理距离明明很近,实际延迟却这么高,中间经过的节点太多,每多一跳就多一份延迟和丢包的风险。NTT 线路本身质量还行,但对中国大陆用户来说,就是不够直接。
网络测试小结
把 Vultr 韩国首尔机房的网络表现做个简单归纳:
| 指标 | 表现 | 评价 |
|---|---|---|
| 本地带宽 | 5Gbps+ | 很充足 |
| 亚洲节点延迟 | 32-68 ms | 正常 |
| 大陆三网延迟 | 185-245 ms | 偏高 |
| 大陆丢包率 | 17.32% | 不理想 |
| 路由线路 | NTT 绕路 | 非直连 |
说句实在话,Vultr 首尔机房目前到大陆的网络表现不太行。如果你的目标用户在国内,或者你需要从国内频繁 SSH 上去操作,这个机房我不太建议选。
如果确实需要韩国节点,可以看看其他走优化线路的商家,比如 edgeNAT 的韩国 SK 线路或者 HostKVM 的韩国机房,这两家到国内的线路质量相对稳定一些。
其他测试
除了性能和网络,我还跑了几个常用的综合脚本,主要看 IP 质量、系统综合信息和流媒体解锁情况。数据比较直观,直接看截图就行,我简单说几句重点。
Bench.sh 综合测试

这个脚本把系统信息、磁盘 I/O、多节点测速打包跑了一遍。几个值得关注的点:
- 磁盘 I/O 三次跑分分别是 990 MB/s、1.1 GB/s、1.2 GB/s,平均 1115.1 MB/s
- TCP 拥塞控制默认开了 BBR,不用自己折腾
- 虚拟化类型显示的是 MICROSOFT(Hyper-V),在意虚拟化的要注意
- 系统是 Ubuntu 24.04 LTS,内核 6.8,比较新
IP 质量检测

IP 归属 AS20473(The Constant Company),也就是 Vultr 自己的 ASN。
风险评分方面,大部分数据库给的是低风险,但 IPQS 给了 94 分(高风险),Scamalytics 给了 38 分(中风险)。Vultr 作为大众化云服务商,这个分数也在意料之中,不满意就换。
邮件方面,本地 25 端口出站是阻断状态,想用来发邮件的话需要另想办法。
流媒体解锁测试
流媒体解锁情况汇总:

主流的 Netflix、YouTube、Amazon 都能解锁韩区,几个主要的 AI 服务(ChatGPT、Gemini、Claude)也都正常访问。只有 Disney+ 和 Reddit 被屏蔽了,Spotify 不支持注册。
如果你主要是拿来看韩区 Netflix 或者用 AI 服务,Vultr 首尔这个 IP 目前是可以的,但不保证长期有效,Vultr 的 IP 池子用的人多,解锁状态随时可能变化。
我的看法
Vultr 韩国首尔机房,硬件层面没什么可挑的。磁盘 I/O 平均 1115 MB/s,4K 随机读写接近 5800 IOPS,CPU 和内存也都是正常水平,作为一台 $10/月 的机器,给的东西是实在的。
但问题出在网络上。三网平均延迟 185-245ms,丢包率 17.32%,路由走 NTT 绕路,这几项数据放在一起看,对国内用户来说体验确实不太好。物理距离近不等于网络距离近,线路才是关键。
所以我的结论是,Vultr 适合:
- 需要韩区 IP 解锁 Netflix、YouTube 等流媒体
- 面向韩国或东南亚用户的业务部署
- 对国内访问速度没有要求的项目
不太适合的场景:
- 面向国内用户的网站或应用
- 需要频繁从国内 SSH 操作的日常运维
- 对延迟敏感的实时业务
如果你只是需要一台韩国 IP 的机器,不在乎国内访问速度,Vultr 首尔还是可以用的,毕竟品牌大、机器稳定、按小时计费灵活。感兴趣的可以去 Vultr 官网看看。
但如果你是冲着”离中国近、速度快”这个预期来的,目前这个机房大概率会让你失望。
常见问题解答(FAQ)
Q1:Vultr 韩国首尔机房适合建站吗?
看你的目标用户在哪。如果你的网站主要面向韩国、日本、东南亚的访客,那完全没问题,这几个方向的延迟都很低。但如果你的读者主要在国内,我就不建议了。
因为三网延迟 200ms 左右加上 17% 的丢包率,网站打开速度会很慢,直接影响用户体验和 SEO 排名。国内用户建站的话,可以看看香港 VPS 推荐,到大陆的线路质量好很多。
Q2:Vultr 首尔机房的 IP 可以换吗?
可以。Vultr 是按小时计费的,你直接把当前机器删掉,重新开一台就会分配新的 IP。我前面也提到了,如果你觉得当前 IP 延迟高或者质量不好,可以同时多开几台测试。
Q3:Vultr 韩国用的是什么虚拟化技术?
从 Bench.sh 的检测结果来看,这台机器显示的虚拟化类型是 MICROSOFT(Hyper-V),不是传统的 KVM。日常使用上差别不大。
如果你有特定需求必须用 KVM 虚拟化——比如需要自定义内核、装特定模块之类的,我更推荐看看 Evoxt,KVM 架构,性能表现更强,网络稳定性也不错。
Q4:Vultr 首尔和东京机房哪个更适合中国用户?
从我的测试经验来看,Vultr 东京机房到国内的线路通常比首尔更稳定一些。虽然首尔地理上更近,但实际线路走向决定了东京反而可能延迟更低、丢包更少。
Q5:有没有到国内线路更好的韩国 VPS 推荐?
Q6:Vultr 韩国机房支持哪些付款方式?
Vultr 支持信用卡、PayPal、支付宝、加密货币等多种付款方式,对国内用户来说还是比较方便的,支付宝直接扫码就能充值。
如果你有信用卡,可以通过点击这个链接领取 $300 体验金。









